AD7142:  电容式触摸传感器专用可编程控制器

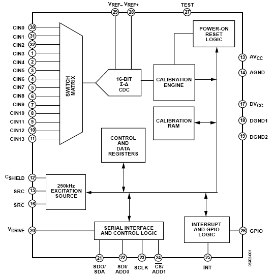
AD7142 功能框图AD7142和AD7142-1是具有片内环境校准功能的集成式电容-数字转换器(CDC),可用于需要采用新型用户输入法的系统。AD7142和AD7142-1可与外部电容式传感器接口,从而实现电容按钮、滚动条或滚轮等功能。CDC有14个输入通道,通过一个开关矩阵与一个16位、250 kHz sigma-delta (Σ-Δ)电容-数字转换器相连。该CDC能够感知外部传感器的电容变化,并借助此信息来记录传感器激活事件。外部传感器既可配置成一系列按钮,也可配置成一个滚动条或滚轮,或者各类传感器的组合。通过对寄存器进行编程,用户可完全控制CDC设置。高分辨率传感器只需要求在主机处理器上运行较少的软件。AD7142和AD7142-1配有片内校准逻辑,用以处理周围环境发生的变化。传感器闲置时,校准序列将自动按连续间隔执行,由此避免发生因环境变化导致的外部传感器误触或触摸未记录事件。AD7142采用SPI兼容型串行接口,AD7142-1则采用I²C兼容型串行接口。两者都有中断输出和通用输入/输出(GPIO)。AD7142和AD7142-1均采用32引脚5 mm × 5 mm LFCSP_VQ封装,工作电压为2.6 V至3.6 V。功耗低于1 mA,在低功耗模式(转换间隔为400 ms)下可降至50 µA。

特点
  • 可编程的电容-数字转换器
    36 ms的更新速率(最大序列长度时)
    分辨率优于1 fF
    14个电容式传感器输入通道
    无需使用外部RC调谐元件
    自动转换定序器
  • 片内自动校准逻辑
    自动补偿环境变化
    自适应式阈值和灵敏度水平
  • 用片内RAM存储校准数据
  • SPI®-兼容型串行接口(AD7142)
  • I²C®-兼容型串行接口(AD7142-1)
  • 串行接口专用独立VDRIVE电平
  • 中断输出和GPIO
  • 32-引脚、5 mm × 5 mm LFCSP_VQ封装
  • 2.6 V至3.6 V的工作电压
  • 低工作电流
    全功耗模式:不足1 mA
    低功耗模式:50 µA
技术指标
  • Resolution (Bits): 16bit
  • # Chan: 14
  • Sample Rate: 250kSPS
  • Interface: I²C/Ser 2-Wire,Ser,SPI
  • Analog Input Type: Diff-Uni
  • Ain Range: ± 2 pF (Delta C)
  • ADC Architecture: Sigma-Delta
  • Pkg Type: CSP
应用领域
  • 个人音乐播放器和多媒体播放器
  • 手机
  • 数码相机
  • 智能型手持设备
  • 电视、A/V和遥控
  • 游戏机
订购指南
产品型号 产品状态 封装 引脚 温度范围
AD7142ACPZ-1500RL7 量产 32 ld LFCSP (5x5mm CP-32-2) 32 工业
AD7142ACPZ-1REEL 量产 32 ld LFCSP (5x5mm CP-32-2) 32 工业
AD7142ACPZ-500RL7 量产 32 ld LFCSP (5x5mm CP-32-2) 32 工业
AD7142ACPZ-REEL 量产 32 ld LFCSP (5x5mm CP-32-2) 32 工业
AD7142 应用技术支持与电子电路设计开发资源下载
  1. AD7142 数据手册DataSheet下载 .pdf
  2. Analog Devices, Inc.ADI 美国模拟器件公司产品订购手册 .pdf
  3. ADC模数转换器选型指南 .pdf