M48T37V TIMEKEEPER SRAM

The M48T37Y/V TIMEKEEPER®RAM is a 32 Kb x 8 non-volatile static RAM and real-time clock. The monolithic chip is available in a special package which provides a highly integrated battery-backed memory and real-time clock solution.

The 44-lead, 330 mil SOIC package provides sockets with gold-plated contacts at both ends for direct connection to a separate SNAPHAT housing containing the battery and crystal. The unique design allows the SNAPHAT®battery/crystal package to be mounted on top of the SOIC package after the completion of the surface mount process.

Insertion of the SNAPHAT housing after reflow prevents potential battery and crystal damage due to the high temperatures required for device surface-mounting. The SNAPHAT housing is keyed to prevent reverse insertion.

The SOIC and battery packages are shipped separately in plastic anti-static tubes or in tape & reel form. For the 44-lead SOIC, the battery/crystal package (e.g., SNAPHAT) part number is “M4T28-BR12SH” or “M4T32-BR12SH”.

技术特性
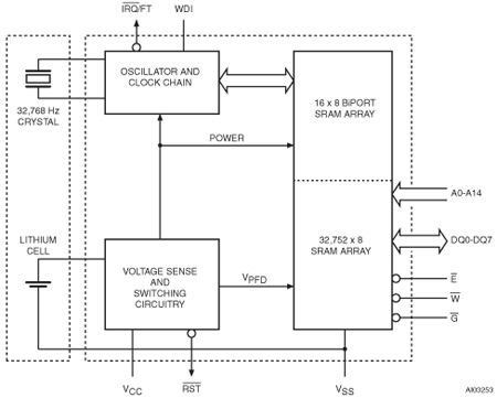
  • Integrated ultra low power SRAM, real-time clock, power-fail control circuit, and battery
  • Frequency test output for real-time clock software calibration
  • Automatic power-fail chip deselect and WRITE protection
  • Watchdog timer
  • WRITE protect voltage (VPFD= Power-fail deselect voltage):
    • M48T37Y: VCC= 4.5 to 5.5 V 4.2 V ≤ VPFD≤ 4.5 V
    • M48T37V: VCC= 3.0 to 3.6 V 2.7 V ≤ VPFD≤ 3.0 V
  • Packaging includes a 44-lead SOIC and SNAPHAT®top (to be ordered separately)
  • SOIC package provides direct connection for a SNAPHAT®top which contains the battery and crystal
  • Microprocessor power-on reset (valid even during battery backup mode)
  • Programmable alarm output active in the battery backup mode
  • Battery low flag
  • RoHS compliant
    • Lead-free second level interconnect
功能框图
M48T37V 订购信息
订购型号 产品状态 美金价格 数量 封装 包装形式 温度范围 材料声明
M48T37V-10MH1F Active     SO-44 Tape And Reel 0 °C-70°C M48T37V-10MH1F
DATASHEET
描述 版本 大小
M48T37V : 5.0 or 3.3 V, 256 Kbit (32 Kbit x 8) TIMEKEEPER® SRAM 9 516KB
APPLICATION NOTES
描述 版本 大小
AN968: VMEbus TIMEKEEPER® requirements 1 38KB
AN925: Time update in ST's TIMEKEEPER® devices 1 31KB
AN923: TIMEKEEPER® rolling into the year 2000 (21st century, Y2K) 1 20KB
AN1012: Predicting the battery life and data retention period of NVRAMs and serial RTCs 4 440KB
AN934: How to use the digital calibration feature in TIMEKEEPER® and serial real-time clock (RTC) products 4 124KB
AN1011: Battery technology used in NVRAM and real-time clock (RTC) products from ST 4 249KB
AN1009: 'Negative undershoot' NVRAM data corruption 1 34KB