SERC816 SERCOS Interface controller

The SERCOS interface controller SERCON816 is an integrated circuit for SERCOS interface communication systems. The SERCOS interface is a digital interface for communication between systems which have to exchange information cyclically at short, fixed intervals (62,5 s to 65 ms). It is appropriate for the synchronous operation of distributed control or test equipment (e.g. connection between drives and numeric control).

A SERCOS interface communication system consists of one master and several slaves. These units are connected by a fiber optical ring. This ring starts and ends at the master. The slaves regenerate and repeat their received data or send their own telegrams. By this method the telegrams sent by the master are received by all slaves while the master receives data telegrams from the slaves. The optical fiber assures a reliable high-speed data transmission with excellent noise immunity.

The SERCOS interface controller contains all the hardware-related functions of the SERCOS interface and considerably reduces the hardware costs and the computing time requirements of the microprocessor. It is the direct link between the electro-optical receiver and transmitter and the microprocessor that executes the control algorithms. The SERCON816 can be used both for SERCOS interface masters and slaves.

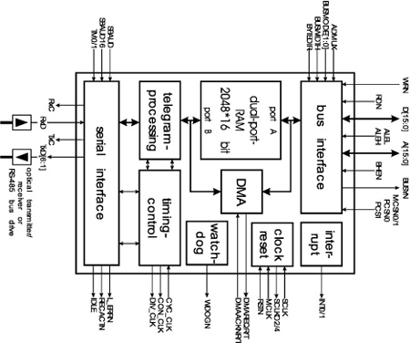
The circuit contains the following functions (Fig. 1):

In addition to the SERCOS interface the SERCON816 can also be used for other real-time communications tasks. As an alternative to the fiber optical ring also bus topologies with RS-485 signals are supported (Fig. 4). The SERCON816 is therefore suitable for a wide range of applications.

Remark: The SERCON816 is based on the former SERCON410B SERCOS interface controller

技术特性
Circuit Diagram
SERC816 订购信息
订购型号 产品状态 美金价格 数量 封装 包装形式 温度范围 材料声明
SERC816 Active   1000 PQFP 100 14x20x2.7 Tray -40 °C-85 °C SERC816
SERC816/TR Active   1000 PQFP 100 14x20x2.7 Tape And Reel -40 °C-85 °C SERC816/TR
DATASHEET
下载 描述 版本 大小
SERC816 INTERFACE CONTROLLER 1 320KB