ADDI7100: 完整、12位、45 MHz CCD信号处理器
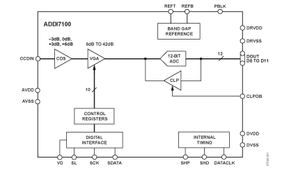
ADDI7100是一款适合电荷耦合器件(CCD)应用的完整模拟信号处理器,具有45 MHz单通道架构,设计用于采样和调理隔行和逐行扫描区域CCD阵列的输出。ADDI7100的信号链由相关双采样器(CDS)、数字控制可变增益放大器(VGA)、黑色电平箝位和12位ADC组成。内部寄存器通过三线式串行数字接口进行编程。可编程特性包括增益调整、黑色电平调整、输入时钟极性和省电模式。ADDI7100采用3 V单电源供电,功耗典型值为125 mW,提供节省空间的32引脚LFCSP封装。
技术特性
- AD9945的引脚兼容升级产品
- 可变增益、45 MHz相关双采样器(CDS)
- 6 dB至42 dB、10位可变增益放大器(VGA)
- 低噪声光学黑色箝位电路
- 预消隐功能
- 12位、45 MHz ADC
- 保证无失码
- 三线式串行数字接口
- 3 V单电源供电
- 节省空间的32引脚、5 mm × 5 mm LFCSP封装
功能框图

|
技术指标
- Imaging-CCD Function: AFE for Area CCD,CIS-CCD Sig Pr Front Ends
- # Channel(s): 1
- Resolution (Bits): 12bit
- Sample Rate (MSPS): 45MSPS
- Sampling Mode: CDS
- Input Range (V p-p): 1.4V p-p
- Analog Input Type: Single-Ended
- Power Dissipation (mW): 125mW
- Programable H-Drivers: No
- Programable V-Clocks: No
- Integrated V-Driver Chs: 0
- Out Type Or Logic Level: CMOS
应用领域
- 数码相机
- 数码摄像机
- 个人电脑摄像头
- 便携式CCD成像设备
- 闭路电视摄像机
|
订购型号
| 产品型号 |
封装 |
引脚 |
温度范围 |
包装和数量 |
报价*(100-499) |
报价*1000 pcs |
RoHS |
| ADDI7100BCPZ 产品状态: 量产 |
LFCSP:LEADFRM CHIP SCALE |
32 |
工业 |
Tray, 490 |
$ 6.87 |
$ 5.22 |
Y 材料信息 |
| ADDI7100BCPZRL 产品状态: 量产 |
LFCSP:LEADFRM CHIP SCALE |
32 |
工业 |
Reel, 5000 |
$ 5.22 |
$ 5.22 |
Y 材料信息 |
ADDI7100 应用技术支持与电子电路设计开发资源下载
- ADDI7100 数据手册DataSheet 下载 Rev C, 06/2010 (pdf 374kB). pdf
- ADI 模拟器件公司比较器产品选型指南 . pdf
- Analog Devices, Inc. 美国模拟器件公司产品订购手册 .pdf