SSM2317: 无需滤波的高效单声道3W D类音频放大器

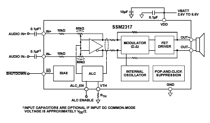
SSM2317 功能框图SSM2317是一款全集成的高效D类音频放大器。它专为手机应用而设计,有助于实现其性能的最大化。在电路应用时,所需的外部元件数量最少,并采用2.5 V~ 5.5单电源供电。它能够提供3 W的连续输出功率,在5V电源电压下驱动3 Ω负载时,总谐波失真加噪声(THD+N)小于1%。

SSM2317是一款高效、低噪声的调制方案,无需任何外部LC输出滤波器。甚至在较低输出功率下,调制也可连续提供高效率。在5V电源电压下驱动8 Ω负载、输出功率1.4 W时,效率为93%;在5V电源电压下驱动3 Ω负载、输出功率3 W时,效率为85%;信噪比(SNR)大于93 dB。与其它D类放大器架构相比,SSM2317利用扩频脉冲密度调制提供较低的电磁干扰辐射发射。

自动电平控制(ALC)可用于抑制削波并改善动态范围。这个特性只需要通过VTH引脚将一个外部电阻与GND连接,并在ALC_EN引脚施加启动电压即可。SSM2317具有微功耗待机模式,待机电流典型值仅为20 nA。在SD引脚施加一个逻辑低电平即可启动待机模式。SSM2317还内置爆米花噪声与喀嗒声抑制电路。这实现了上电与断电期间电压毛刺的最小化,从而减少启用和禁用时的噪声。SSM2317的默认增益为18 dB,但用户可以利用一对外部电阻来降低该增益(请参考增益部分)。SSM2317的工作温度范围为-40°C~ +85°C。它内置过热关断与输出电流短路保护功能。采用1.5 mm × 1.5 mm 9引脚WLCSP封装。

技术特性
  • 无需滤波的D类放大器,内置Σ-Δ调制
  • 自动电平控制(ALC)改善动态范围,并防止削波
  • 在5V电源电压下驱动3 Ω负载、输出功率3 W时,以及在5V电源电压下驱动8 Ω负载、输出功率1.4 W时,谐波失真均小于1%(ALC关断)
  • 在4.2 V电源电压下驱动8 Ω负载时,输出功率为700 mW(ALC 80%)
  • 在5V电源电压下驱动 8 Ω负载、输出功率1.4 W时,其效率为93%
  • 信噪比(SNR)>93 dB
  • 单电源电压:2.5 V~ 5.5 V
  • 欲了解更多信息,请参考数据手册
技术指标
  • Output Power (W): 3W
  • Speaker Driver: Mono
  • Product Description: Filterless High Efficiency, Mono Class-D Audio Amplifier
应用
  • 移动电话
  • MP3播放器
  • 便携式游戏机
  • 便携式电子产品
  • 教育玩具
订购指南
产品型号 封装 引脚 温度范围 包装和数量 报价*(100-499) 报价*1000 pcs RoHS
SSM2317CBZ-REEL 产品状态: 量产 9 ball WLCSP (1.46x1.46) 9 工业 Reel, 10000 - $ 0.73 Y  材料信息
SSM2317CBZ-REEL7 产品状态: 量产 9 ball WLCSP (1.46x1.46) 9 工业 Reel, 3000 - $ 0.73 Y  材料信息
开发工具
产品型号 描述 报价 RoHS
SSM2317-EVALZ 产品状态: 量产 Evaluation Board $ 50.50
SSM2317-MINI-EVALZ 产品状态: 量产 Evaluation Board $ 50.50
SSM2317 应用技术支持与电子电路设计开发资源下载
  1. SSM2317 数据手册DataSheet 下载 Rev A, 06/2008 (pdf 724kB). pdf
  2. Advantiv 高级电视解决方案 . pdf
  3. Analog Devices, Inc. 美国模拟器件公司产品订购手册 .pdf
  4. ADI 美国模拟器件公司音频放大器选型指南 . pdf